碳纤维管如何连接?
碳纤维管常见的生产工艺是缠绕成型,缠绕成型的碳纤维管,对于管壁的平整性有非常好的保证,能够满足碳纤维管的抗压能力一致,不易出现断裂或者变形,那在耐疲劳以及热膨胀系数上面也能使得整个管材都保持一致,因此碳纤维管缠绕的工艺也是碳纤维加工厂家中常见的加工工艺,但是这种工艺下的碳纤维管的长度是没有办法生产很长,那对于长管的碳纤维管就需要进行连接,那如何连接呢?星欧娱乐注册新材的小编来给你说说。

碳纤维本身的链接,其实是经过环氧树脂链接,然后经过加热工艺后成型,成为一个整体,那在对于长碳纤维管需要拼接的时候,我们一般是采用这样的三种方式。
方式一:胶水粘接
胶水粘接是碳纤维管和其他材料,比如铝制件的链接就可以采用胶水粘接,那这种方式也是很多机加工件常用的方式,在这种方式的粘接过程中,要注意清除表面的灰尘,这种粘接方式比较适合一些负荷不高的部位粘接。大负荷的承载的话,就会对于胶水的性能要求更高。
方式二:碳纤维的修复连接接
利用碳纤维管自身的加热进行的结构化连接,那这张方式需要在碳纤维管成型的时候,就要进行链接,在整个的链接方式过程中对于技术的要求很高,不适用于大批量化的生产,容易出现残损件。因此很多的碳纤维制品加工厂家,都不会采用这种方式,更多的是在碳纤维复合材料制品修复的过程中,会采用这种方式。
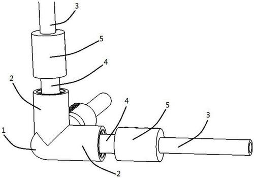
方式三:机械连接
机械连接是大负荷他新闻管常用的方式,这种管材主要是一些直径不大的观察,利用的是转孔的方式连接,那在碳纤维伸缩杆上面就是采用的这种连接方式,主要是螺纹连接和铆钉连接。这种方式的碳纤维管能够承受大负荷的载重,能够很好的拆卸装配。
以上这三种方式就是碳纤维管需要连接方式,那星欧娱乐注册新材这边主要采用的是方式一和方式三,方式二更多的是一些客户在碳纤维复合材料制品使用过程中不合理的损坏,进行修复的方式。那关于碳纤维管更多的生产加工,可以来图定制咨询星欧娱乐注册新材哦。
上一篇:碳纤维车牌架怎么样?合法么?
下一篇:如何判断碳纤维管的质量好不好?